tencent cloud

TencentDB for MongoDB

Release Notes and Announcements
Release Notes
Announcements
User Guide
Product Introduction
Overview
Strengths
Use Cases
Cluster Architecture
Product Specifications
Features
Regions and AZs
Terms
Service Regions and Service Providers
Purchase Guide
Billing Overview
MongoDB Pricing
Billing Formula
Payment Overdue
Backup Space Billing
Configuration Adjustment Billing
Getting Started
Quickly Creating an Instance
Connecting to a TencentDB for MongoDB Instance
Reading/Writing Database
Operation Guide
Access Management
Instance Management
Node Management
Version Upgrade
Network Configuration
Monitoring
Backup and Rollback
Database Audit
Data Security
SSL Authentication
Log Management
Database Management
Multi-AZ Deployment
Disaster Recovery/Read-Only Instances
Parameter Configuration
Recycle Bin
Task Management
Performance Optimization
Data Migration Guide
Practical Tutorial
Optimizing Indexes to Break Through Read/Write Performance Bottlenecks
Troubleshooting Mongos Load Imbalance in Sharded Cluster
Considerations for Using Shard Clusters
Sample of Reading and Writing Data in MongoDB Instance
Methods for Importing and Exporting Data Based on CVM Connected with MongoDB
What to Do for Errors of Repeated Instance Creation and Deletion of Databases with the Same Names?
Troubleshooting MongoDB Connection Failures
Shard Removal Task: Guide for Confirming the Progress and Troubleshooting Issues
Performance Fine-Tuning
Ops and Development Guide
Development Specifications
Command Support in Sharded Cluster v3.2
Command Support in v3.6
Development Ops
Troubleshooting
Increased Slow Queries
Number of Connections Exceeding Limit
API Documentation
History
Introduction
API Category
Making API Requests
Instance APIs
Backup APIs
Account APIs
Other APIs
Task APIs
Introduction
Data Types
Error Codes
Instance Connection
Shell Connection Sample
PHP Connection Sample
Node.js Connection Sample
Java Connection Sample
Python Connection Sample
Python Read/Write Sample
Go Connection Sample
PHP Reconnection Sample
Product Performance
Test Environment
Test Method
Test Result
FAQs
Cost
Features
Sharded Cluster
Instance
Rollback and Backup
Connection
Data Migration
Others
Service Agreement
Service Level Agreement
Terms of Service
Glossary
Contact Us
DocumentationTencentDB for MongoDB

Creating a Parameter Template

Focus Mode
Font Size
Last updated: 2024-10-10 16:10:42
The parameter template for TencentDB for MongoDB is a predefined set of parameters designed to meet specific database configuration needs. Each database version has a pre-configured default parameter template to accommodate general business requirements. Additionally, users can customize parameter templates according to specific use case needs, allowing for more efficient use of database services.
Note:
The current parameter template feature is controlled by an allowlist. If a request is needed, you can submit a ticket to apply for use of this feature.

Using System Default Parameter Templates

1. Log in to the MongoDB Console.
2. In the left sidebar, select Parameter Template.
3. On the parameter template page, select Default Template. For each database version, TencentDB for MongoDB provides a corresponding default parameter template.

4. Click View Details in the Operations column to view the specific parameter configuration information for the template.

5. Click Application Instances in the Operations column to apply the default parameter template to specific instances. As shown below, select the Region, then choose one or more instances within the region, select the Execution Method, and click Submit to apply the default parameter template to the selected instances.


Creating a Custom Parameter Template

1. Log in to the MongoDB Console.
2. In the left sidebar, select Parameter Template.
3. On the parameter template page, click Create Template.
4. In the pop-up Create Parameter Template window, configure the following parameters, then click Create and Set Parameters.
Template Name: Enter the name of the parameter template. The template name should be unique.
Database Version: Select the required database version.
Architecture Type: Select the architecture type for the database instance.
Template Description: Enter a brief description of the parameter template.

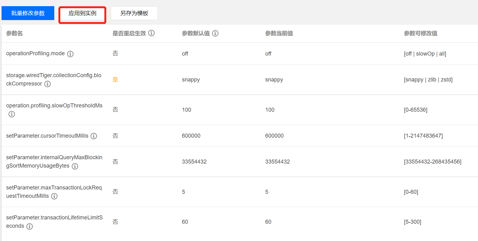
5. The parameter list for the template will be displayed. Click Batch Modify Parameters, as shown in the image below, and modify the parameter values in the Current Parameter Value column based on the range of values allowed in the Modifiable Parameter Values. For the meaning of each parameter, see Adjust Database Parameters.

6. After the modifications are complete, click Confirm Modification to finalize the creation of the parameter template.
7. (Optional) Return to the parameter list and click Apply to Instance to apply the template to one or more specific instances.

8. (Optional) Return to the parameter list and click Save as Template. In the Save as Parameter Template pop-up window, enter a new template name and description, and click Save to save the current template as a new one.

Applying Parameter Template to Instance

Note:
Database instances that have used a parameter template will not automatically synchronize with updates to the template. You need to manually reconfigure the instances by applying the updated parameter template again.
1. Log in to the MongoDB Console.
2. In the left sidebar, select Parameter Template.
3. From the parameter template list on the right, select the template you wish to apply, and click Apply to Instance in the Action column.
4. On the Apply to Instance page, select the Execution Method, then choose the Region where the instance belongs. In the Selectable Instances under MongoDB instance, select one or more instances.

5. Click Submit. If the Execution Method is set to Execute Immediately, the parameter values in the template will be applied to the selected instances immediately. If the Execution Method is set to Within Maintenance Time, you will need to wait for the task to be completed during the maintenance window before the parameter values in the template are applied to the selected instances.

Help and Support

Was this page helpful?

Help us improve! Rate your documentation experience in 5 mins.

Feedback