tencent cloud

云联网

动态与公告
产品公告
产品简介
产品概述
产品优势
应用场景
使用限制
购买指南
计费总览
到期提醒
欠费说明
快速入门
开始使用云联网
同账号网络实例互通
跨账号网络实例互通
操作指南
操作总览
实例管理
路由管理
带宽管理
监控与告警
API 文档
常见问题
故障处理
使用云联网打通两个 VPC 后网络不通
相关协议
服务等级协议
联系我们

启用路由

PDF
聚焦模式
字号
最后更新时间: 2024-07-30 15:22:36
本文将帮助您了解云联网路由的启用、批量启用操作。

前提条件

路由条目为禁用:



操作步骤

1. 登录 云联网控制台,进入云联网管理页面。
2. 在云联网列表中,单击需要启用路由的云联网 ID,进入详情页。
3. 路由表页签,启用路由:
注意:
启用路由后,如果路由规则重叠,则按照最长掩码规则进行匹配。
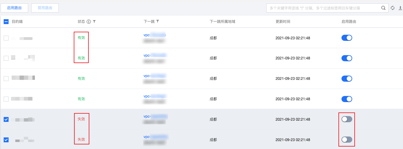
单条路由:单击处于禁用中的路由条目右侧的图标,并在弹出的启用路由对话框中,单击确定

多条路由:勾选多条处于禁用中的路由条目,单击上方的启用路由,并在弹出的对话框中,单击确定

启用后,如路由无冲突,则显示如下图所示:

如路由冲突,则路由按照最长掩码规则匹配生效,可能导致启用失败,如需使用该条路由,请先禁用/删除原冲突路由。


帮助和支持

本页内容是否解决了您的问题?

填写满意度调查问卷,共创更好文档体验。

文档反馈