tencent cloud

弹性 MapReduce

动态与公告
产品动态
产品公告
安全公告
产品简介
产品概述
产品优势
产品架构
产品功能
应用场景
约束与限制
技术支持范围
产品发行版
购买指南
EMR on CVM 计费说明
EMR on TKE 计费说明
EMR Serverless HBase 计费说明
快速入门
EMR on CVM 快速入门
EMR on TKE 快速入门
EMR on CVM 操作指南
规划集群
管理权限
配置集群
管理集群
管理服务
监控告警
智能管家
EMR on TKE 操作指南
EMR on TKE 简介
配置集群
管理集群
管理服务
监控运维
应用分析
EMR Serverless HBase 操作指南
EMR Serverless HBase 产品简介
配额与限制
规划实例
管理实例
监控告警
开发指南
EMR 开发指南
Hadoop开发指南
Spark 开发指南
HBASE开发指南
Phoenix on Hbase 开发指南
Hive 开发指南
Presto开发指南
Sqoop 开发指南
Hue 开发指南
Oozie 开发指南
Flume 开发指南
Kerberos 开发指南
Knox 开发指南
Alluxio 开发指南
Kylin 开发指南
Livy 开发指南
Kyuubi 开发指南
Zeppelin 开发指南
Hudi 开发指南
Superset 开发指南
Impala 开发指南
Druid 开发指南
Tensorflow 开发指南
Kudu 开发指南
Ranger 开发指南
Kafka 开发指南
Iceberg 开发指南
StarRocks 开发指南
Flink 开发指南
JupyterLab 开发指南
MLflow 开发指南
实践教程
EMR on CVM 运维实践
数据迁移实践
自定义伸缩实践教程
API 文档
History
Introduction
API Category
Cluster Resource Management APIs
Cluster Services APIs
User Management APIs
Data Inquiry APIs
Scaling APIs
Configuration APIs
Other APIs
Serverless HBase APIs
YARN Resource Scheduling APIs
Making API Requests
Data Types
Error Codes
常见问题
EMR on CVM常见问题
服务等级协议
联系我们

修复磁盘

PDF
聚焦模式
字号
最后更新时间: 2026-03-20 17:20:59

功能介绍

EMR 控制台支持自动监测本地盘换盘事件,换盘后可在控制台自助初始化新磁盘操作。
注意
用户收到 CVM 坏盘通知并根据 CVM 的通知内容修复物理盘或更换磁盘后,EMR 控制台方可触发修复磁盘操作。
磁盘更换后,该磁盘上的数据会丢失,请确保磁盘上的数据有备份。
CVM 修复物理盘或更换磁盘后,若用户已手动初始化磁盘并完成磁盘挂载,无需在 EMR 控制台操作修复磁盘

操作步骤

1. 登录 EMR 控制台,在集群列表中单击对应的集群 ID/名称进入集群详情页。
2. 在集群详情页中选择集群资源 > 资源管理,对其更换完磁盘的节点进行修复磁盘操作。


3. 如果用户已手动修复磁盘,在修复磁盘弹窗页面可以选择已手动修复,无需重复操作跳过修复;否则系统将默认执行磁盘修复操作。
4. 在控制台自动操作过程中,会对当前节点进行服务重启等操作,重启过程中服务和节点不可用,建议在业务低峰期进行修复操作。

Kudu 服务恢复

注意
当存在多块本地盘,且其中1块或多块盘维修后使用EMR磁盘修复功能,所在节点部署了 KuduServer 服务;
受限于 Kudu 的 fs_data_dirs 能力,由于某1块或者多块盘被格式化处理,为保证 kuduServer 正常启动只支持 kuduServer 节点上配置的所有数据盘数据目录都是空数据,需客户协助确认这些数据目录,除 kudu 存储数据外,未被其他客户自身业务误用。
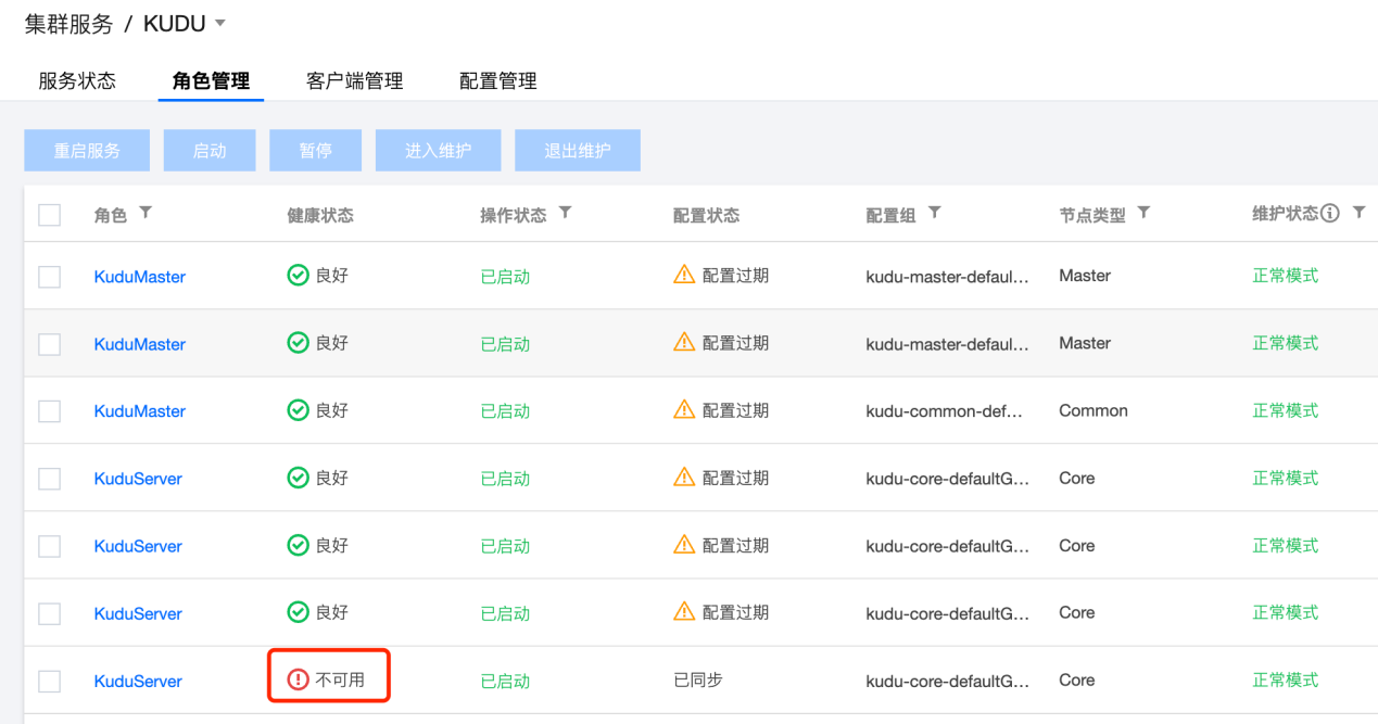
场景: 具体可在 EMR 控制台集群服务,所更换磁盘节点的 KuduServer 中健康状态为“不可用”状态:

确认数据一致性及恢复:
1.1 确认所在目录(具体查看方式如下)数据除 Kudu 外,无其他用途;假如有其他用途,请先把相关数据迁移到其他非 fs_data_dirs 配置目录下,再执行以下操作。
1.1 具体目录:查看文件/usr/local/service/kudu/conf/tserver.gflags


1.2 登录本地盘异常节点查看日志:/data/emr/kudu/log/kudu-tserver.INFO

使用 root 用户执行以下命令,清理相关不一致数据:
rm -rf /data/emr/kudu/tserver/*
rm -rf /data1/emr/kudu/tserver/*

Running Environment

Operating System: Ubuntu 24.04.2 LTS / x86_64

Runtime Version: GNU bash, version 5.2.21(1)-release (x86_64-pc-linux-gnu)

此命令假设 fs_data_dirs 中配置为 /data/emr/kudu/tserver/ /data1/emr/kudu/tserver/,具体可根据/usr/local/service/kudu/conf/tserver.gflags查看。
1.3 观察 kuduServer 服务状态。


说明
若您在操作过程中遇到问题,请您及时 提交工单 反馈,我们将为您核实处理。

帮助和支持

本页内容是否解决了您的问题?

填写满意度调查问卷,共创更好文档体验。

文档反馈