tencent cloud

数据库智能管家 DBbrain

动态与公告
产品动态
公告
产品简介
产品概述
产品功能
产品优势
应用场景
功能列表
地域列表
购买指南
操作指南
访问管理
自建数据库接入
实例概览
实例管理
监控告警
健康报告及 Kill 会话报告管理
MySQL/TDSQL-C 诊断优化
TDSQL MySQL/MariaDB 诊断优化
分布式缓存数据库(Distributed Cache)诊断优化
MongoDB 诊断优化
全链路分析
实践教程
如何解决 MySQL 实例 CPU 使用率高问题
如何解决 MySQL 实例锁冲突问题
如何解决 Distributed Cache 实例 CPU 使用率高问题
如何解决 MongoDB 实例 CPU 使用率高问题
如何解决 MongoDB 节点 Oplog 保存时间太短
API 文档
History
Introduction
Introduction
API Category
Making API Requests
Session Killing APIs
Exception Detection APIs
Other APIs
Redis related APIs
Health Report Email Sending APIs
Space Analysis APIs
Slow Log Analysis APIs
Security Audit APIs
Database Audit APIs
Data Types
Error Codes
DBbrain APIs 2019-10-16
常见问题
自建数据库问题
MySQL 性能问题
产品常见问题
服务等级协议
词汇表
联系我们

延迟分析(热 Key 分析)

PDF
聚焦模式
字号
最后更新时间: 2026-03-19 17:23:59
在 Distributed Cache 数据库中,我们将访问频率高的 Key 称为热点 Key,当 Distributed Cache 数据库请求过大时,多数请求又集中去访问 Distributed Cache 上的某个特定 key。这样会造成流量过于集中,触达物理网卡上限,从而导致 Distributed Cache 服务出现问题甚至宕机。
通过 DBbrain 的热 Key 分析系统,能够快速发现热点 Key,从而为服务优化提供基础。

查看热 Key 分析

1. 登录 DBbrain 控制台
2. 在左侧导航栏,选择诊断优化
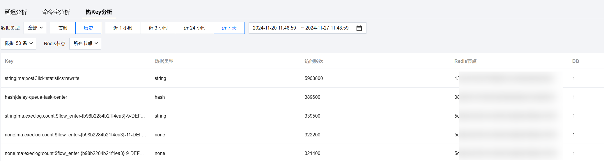
3. 在页面上方选择对应数据库和实例 ID,选择延迟分析 > 热 Key 分析页签。



4. 在热 Key 分析页面,选择数据类型和时间范围,时间范围支持实时和历史视图的切换查看分析数据。
数据类型:支持全部、string、list、set、hash、sortedset、stream、none。
实时视图:支持实时查看每个时间点的分析。
历史视图:支持查看近1小时、3小时、24小时、7天、自定义时间的分析。



选择待分析的 Redis 节点和列表限制条数(支持限制50条、限制100条),查看分析数据。




帮助和支持

本页内容是否解决了您的问题?

填写满意度调查问卷,共创更好文档体验。

文档反馈