tencent cloud

云压测

SLA 配置

Download
聚焦模式
字号
最后更新时间: 2025-03-10 17:35:06

配置场景

服务等级定义(Service Level Agreement,缩写为 SLA)是您为压测场景定义的具体目标,也是判断压测是否异常的重要依据。
当您为场景配置了 SLA 规则,PTS 在运行压测任务时,会将 SLA 指标与压测过程中收集到的相关数据进行比较,然后确定目标的 SLA 状态,并根据您指定的方式做出相应处理(例如停止压测、发出通知等)。

配置 SLA

1. 登录 腾讯云可观测平台 控制台。
2. 在左侧菜单栏中单击云压测 > 测试场景
3. 测试场景页面单击新建场景。
4. 在创建测试场景页面选择合适的类型并单击开始进行创建。
5. 在场景配置的 SLA 页面,您可以为该场景创建 SLA 规则。




SLA 规则配置

一条 SLA 规则主要包含以下信息:
SLA 规则表达式:包含 SLA 指标、聚合方式、条件、阈值。
适用对象:被发送请求的所有服务接口 URL。
是否停止压测:当规则被触发时,是否中止压测任务。

告警联系人配置

当 SLA 规则被触发时,除了能及时停止压测,您还可以配置告警联系人,接收告警消息。PTS 能借助您的腾讯云账号下已有的通知渠道,向您发送告警消息。在场景的 SLA 配置页面,您可单击选择联系人组,弹出的列表页会展示出当前项目下,所有场景共用的联系人组:



若当前列表为空,您需要先新建联系人组,并添加相应的腾讯云账号作为联系人、使用该联系人账号下已有的通知渠道(例如短信、邮件等):



若您想要选择的联系人不存在,您可单击新增用户,跳转到腾讯云访问管理相关页面,维护您账号下的用户信息及通知渠道。
除了腾讯云账号下的现有通知渠道之外,您还可以自行创建企业微信机器人,并将其 Webhook 填入接收渠道,您就可以通过企业微信群,接收由该机器人发出的告警消息。

配置效果

如图所示,SLA 规则中配置当请求数大于100时,停止压测并发送通知:


压测时请求数超过100,任务中断:


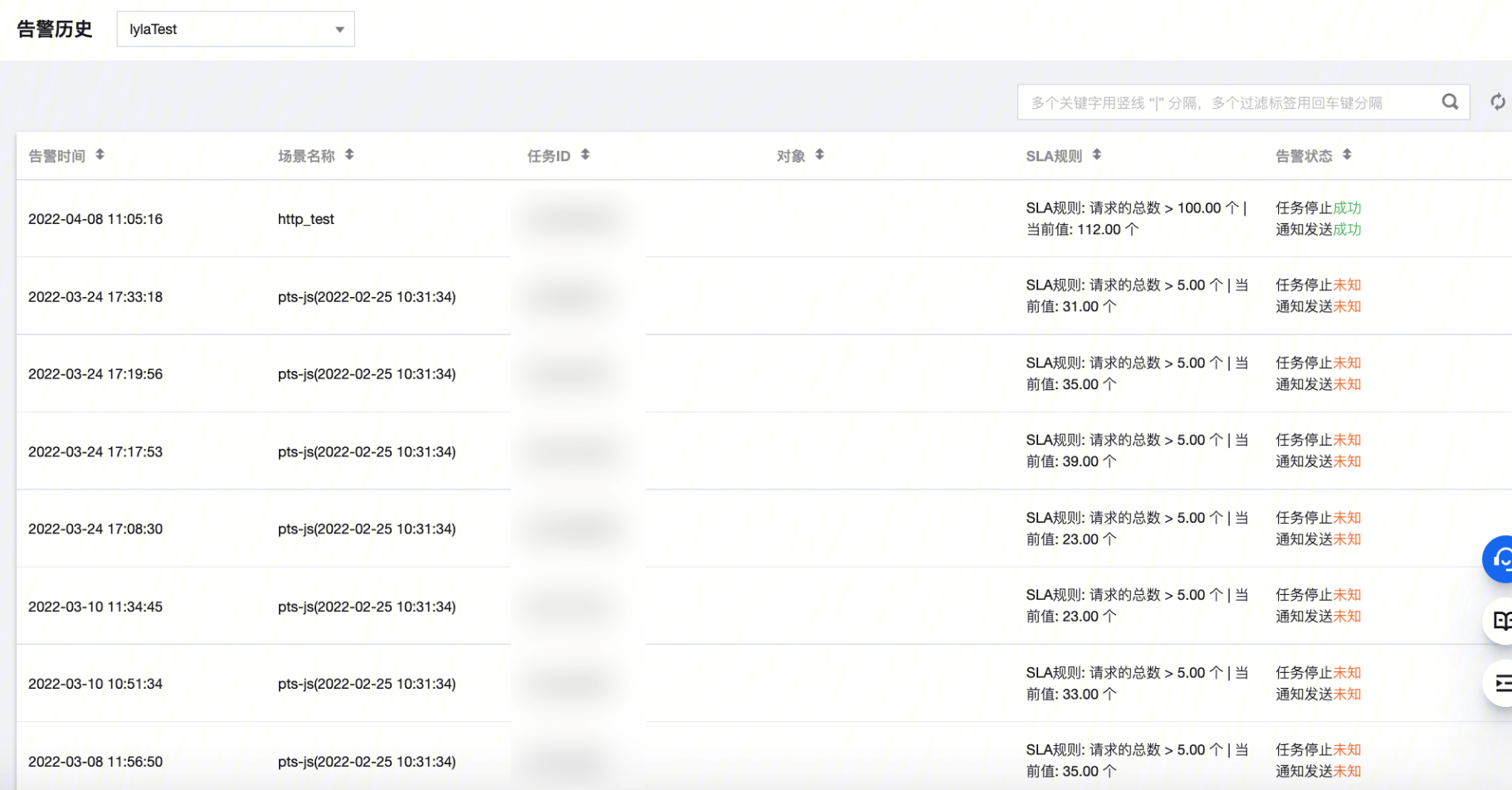
告警通知也会发往相应的联系人和渠道,例如短信、邮件等。此外,还可在告警历史页面,查看同一项目下所有的告警历史记录。




帮助和支持

本页内容是否解决了您的问题?

填写满意度调查问卷,共创更好文档体验。

文档反馈