tencent cloud

腾讯云 BI

产品简介
产品概述
产品优势
产品功能
应用场景
购买指南
计费说明
购买指引
升配说明
续费说明
快速入门
数据接入
创建 VPC 数据源
创建云数据源
创建自有数据源
数据建表和数据加工
数据分析基础知识介绍
数据建表
数据加工
数据分析
分析设置
交互分析
即席分析
数据可视化
公共样式设置说明
筛选组件
图表组件
富文本组件
其他组件
移动端布局编辑器
主题设置介绍
页面布局介绍
看板目录管理
协作及应用
推送渠道管理
报表推送
分享
嵌出
自助取数
指标告警
数据安全
参数构建
平台管理
账号及权限管理
统计及分析
系统设置
资源迁移
实践教程
优化实践合集
如何做趋势分析
如何做占比分析
如何使用 Excel 文件分析数据
如何做表格
常见问题
相关协议
服务等级协议
隐私协议
数据处理和安全协议
联系我们

性能分析

PDF
聚焦模式
字号
最后更新时间: 2025-09-19 15:30:18
报表制作完成后,用户进行访问,BI 提供性能分析能力,帮助了解报表的查询耗时、图表的查询次数、耗时等情况。

本文介绍以下操作:
数据概览
报表性能
图表性能
在项目中查看性能

访问入口:
查看全部资源性能:登录 BI 控制台 > 工具箱 > 性能分析;
查看项目资源性能:登录 BI 控制台 > 项目管理 > 进入项目 > 性能分析;
画布中查看图表性能:进入页面编辑 > 鼠标划过图表 > 在工具条中选择 性能分析;


数据概览

数据概览提供整体报表访问情况和按天的查询耗时分层:


报表性能

支持按照报表颗粒度查看性能:

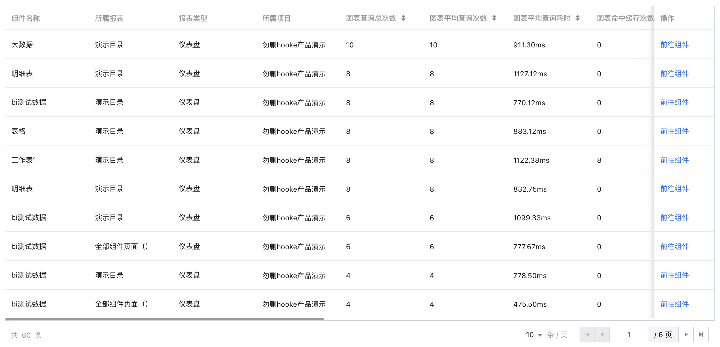
字段说明:
报表名称:被访问的报表名称;
报表类型:被访问的报表类型;
所属项目:被访问的报表所在的项目;
报表查询次数:页面被访问的次数;
图表查询总次数:页面包含的所有图表查询的总次数;
报表平均查询次数:统计时间内,该报表每天的平均查询次数;
图表平均查询次数:统计时间内,该报表下的图表每天的平均查询次数;
图表平均查询耗时:统计时间内,该报表下的图表平均每次查询的时长;
图表命中缓存次数:统计时间内,该报表下的图表被缓存的读取次数;
图表命中缓存平均耗时(ms):统计时间内,该报表下的图表读取缓存的平均时长;
图表查询超过10s占比:统计时间内,该报表下的图表,时长超过10秒的查询次数在总查询次数里的占比;
图表查询超时次数:统计时间内,该报表下的图表,查询超时次数汇总;
图表查询超时占比:统计时间内,该报表下的图表,查询超时次数在总查询次数里的占比;
图表命中刷新次数:统计时间内,该报表下的图表,刷新发起的请求次数;
图表命中刷新平均查询耗时(ms):统计时间内,该报表下的图表,刷新发起的查询平均时长;
图表命中加速引擎次数:统计时间内,该报表下的图表,通过数据表加速的查询次数;
图表命中加速引擎平均查询耗时(ms):统计时间内,该报表下的图表,通过数据表加速的查询平均时长;


图表性能

支持按照图表颗粒度查看性能:

字段说明同报表性能,仅范围不一样,图表性能仅统计当前图表,而非报表。

导出明细

支持导出当前查询的性能数据。



帮助和支持

本页内容是否解决了您的问题?

填写满意度调查问卷,共创更好文档体验。

文档反馈