tencent cloud

费用中心

动态与公告
产品动态
产品公告
计费说明
计费方式
账户冻结说明
余额预警指引
云服务退货说明
购买模式
包年包月模式产品列表
购买指南
购买
支付方式
银企直连专属账号打款功能说明
充值流程说明
预付费产品付款方式
后付费账户支付
自动付款功能
收支明细
代金券
节省计划
续费管理
账单管理
账单查看
账单介绍
账单字段说明
用量明细
账单导出中心
账单订阅
账单存储至 COS 桶
计费 CAM 权限设置指引
线上自助开票功能说明
税务管理
FOCUS 1.0
FOCUS 1.0 差异说明
成本管理
消耗账单介绍
消耗功能说明
异常检测
消耗账单字段说明
成本分析
预算管理
分账管理
分账单元
分账账单
分账标签
分账回溯
API 文档
API Category
Funds Management APIs
Order Management APIs
Resource Management APIs
Bill Management APIs
Cost Allocation Management APIs
Cost Management APIs
Making API Requests
Organization Account APIs
Data Types
Error Codes
常见问题
账单常见问题
代金券常见问题
续费常见问题

预算管理

PDF
聚焦模式
字号
最后更新时间: 2025-11-06 18:49:52
预算管理功能从客户内部经营管理诉求出发,帮助腾讯云客户设置预算,追踪预算,分析预算。同时,腾讯云推出 AI 预算管理功能,依托 AI 技术基于成本数据智能辅助用户创建预算,降低使用门槛,提升预算功能使用效率。对已创建预算的用户,AI 通过分析历史消耗行为、预算执行及告警记录,自动生成预算配置优化建议,实现预算管理的智能决策与资源高效分配,助力企业降本增效。

操作步骤

手动创建预算

2. 在左侧导航栏中,选择成本管理 > 预算管理,进入预算管理页面。
3. 单击新建预算

4. 新建预算页面,可根据需要选择自定义预算,也可直接使用零支出预算月度费用预算
自定义预算
零支出预算
月度费用预算
4.1 在编辑预算页面,按需填写相关信息。

基本信息:根据需要设置便于区分的预算名称,该名称将会展示在预算列表。
编制信息
预算周期:支持按照年度、季度、月度、日设置预算周期。
预算有效期:支持有效期生效和持续性生效。区别是持续性生效没有截止时间,可持续生效。
注意:
持续性生效有无限个周期,编制方式仅支持固定预算,不支持计划预算。
计划预算最多设置12个周期的预算值,取决于您选择的有效期范围。若周期数目更多,则后续预算会沿用第12个周期值。不建议配置过多计划预算。
有效期:设置的预算金额仅在该时间段内生效,如果选择了持续性生效则为某日起永久生效。
编制方式:支持固定预算和计划预算。
每日/月/季度/年预算金额:您计划在预算周期内的成本金额。
编制方式为固定预算:可设置每月预算为固定金额。
编制方式为计划预算:可设置每个周期预算为不同金额。
费用范围
默认为全部费用,推荐您为全部费用统一配置预算。
支持自定义费用范围,目前支持的自定义维度有:产品计费模式子产品项目地域可用区交易类型(消耗类型)标签支付者账号使用者账号

说明:
1. 每个维度下会基于您历史消费记录拉出清单,支持多选。
2. 集团管理账号可在“成员财务授权”为成员账号分配预算管理权限,详情请参见 添加组织成员。分配权限后,集团管理账号可以为成员账号配置预算,配置的预算展示在集团账号下。
高级设置:在高级设置中,您可以设置成本属性进一步个性化自己的预算。
账单口径
费用账单:基于收付制设置预算,腾讯云默认使用费用账单口径,基于总费用(即折扣价)配置预算。
消耗账单:基于权责发生制设置预算,消耗账单口径一般用于客户希望管理摊销成本的场景。如需使用消耗账单口径,您需要先开通 消耗账单
费用类型:支持总费用(折扣价)、原价费用(排除优惠影响)、现金支付、赠送金支付、优惠券支付、分成金支付。
说明:
日预算展示历史20天的成本;月预算展示历史12个月的成本;季度预算展示历史4个季度的成本;年预算展示历史每年的成本。
可视化图形介绍:在配置预算过程中,腾讯云提供相应历史成本的可视化图表,展示在预览页签中,可协助您参考历史费用设置预算。

辅助图表与成本分析功能打通,会随您配置参数自动调整成本范围,展示相应成本。您也可以单击成本分析跳转到成本分析页面进行更详细的历史分析。
您配置的预算值及后续步骤配置的告警阈值,也将体现在其中。
4.2 以上信息填写完后,单击下一步:设置提醒,在设置提醒页面,按需填写相关信息

阈值提醒:基于每个预算,最多可设置3组预警。
实际费用:按您的实际消费金额进行预警。
固定值:您可以根据需要设置一个固定的金额,达到或超过该金额时触发预警。
预算金额的百分比:基于您设置好的预算金额,设置百分比阈值,达到或超过该金额时触发预警。
波动提醒:波动告警用于检查预算生效期间,日或月的异常上升情况。支持同比、环比、固定值比较。最多可设置3组提醒。
日预算中支持如下周期波动检查:日环比(与上一天比较);日同比(与上个月同一日比较);日固定值。
月及月以上预算支持如下周期波动检查:日环比(与上一天比较);日同比(与上个月同一日比较);日固定值(与固定值相比),月环比(与上一月比较),月固定值(本月与固定值相比)。
各波动类型计算公式如下:
波动类型
计算公式
备注
日环比
(今日金额 - 昨日金额) / 昨日金额 * 100%
为避免按量月结费用在1号显著影响分析,日同比环比不覆盖按月结算费用
日同比周维度
(今日金额 -上周今日金额)/ 上周今日金额 * 100%
为避免按量月结费用在1号显著影响分析,日同比环比不覆盖按月结算费用
日同比月维度
(今日金额 -上月今日金额)/ 上月今日金额 * 100%
在日同比中,若本日金额找不到上月同一日,例如,5月31日找不到4月31日数据,则根据就近原则获取,与4月30日数据比较
月环比
(本月金额 - 上月金额) / 上月金额 * 100%
日固定值
今日金额 > 固定值
注意:
对于每条预算,您可配置最多3条阈值类告警,3条波动类告警。
零支出预算为预设预算模板,方便您快速选择场景创建预算。该预算模板可直接提交进行保存。

预算名称默认为零支出预算,如已存在相同名称的预算,则需要您修改名称。
费用范围默认为全部费用,支持自定义费用范围。
告警逻辑:阈值提醒;当绝对值实际支出 >= 0.01时发送告警通知。
预算周期:月度。
持续时间:从创建时起持续生效。
编制方式:固定预算。
每月预算金额:0.01。
账单口径:费用账单。
费用类型:总费用。
告警通知:告警通知接收人默认取全部,支持自定义编辑。
说明:
零支出预算再次编辑时,进入自定义预算的编辑页面。
零支出预算进度条只有在预算金额大于1美元时呈现,否则展示“-”。
月度费用预算也是预设预算模板,该预算模板在您填写预算金额后,可以直接提交进行保存,如已存在相同名称的预算,则需要您修改名称。

预算名称:默认为月度费用预算,可直接保存,如已存在同名称的预算,则需要您修改名称。
预算金额默认总费用,页面下方呈现上月账单费用,支持手动输入一键填入两种方式。
告警逻辑(阈值预算-百分比):
当实际支出达到预算金额的80%时发送告警通知。
当实际支出达到预算金额的100%时发送告警通知。
预算周期:月度。
持续时间:从创建时起持续生效。
编制方式:固定预算。
每月预算金额:需要您根据需要手动输入。
费用范围:全部范围。
账单口径:费用账单。
费用类型:总费用。
告警通知:预算告警通知接收人默认取全部,可自定义编辑。
说明:
月度费用预算再次编辑时,进入自定义预算的编辑页面。
若上月费用小于等于0,或无法查询时则不展示上月账单费用和一键填入。
提醒接收设置
您可前往 消息订阅,选择财务消息 > 预算管理通知,单击添加接收人或单击修改消息接收人,设置提醒方式和消息接收人。
支持自定义设置接收用户、接收渠道




接收用户:默认选择消息订阅 > 预算管理通知的全部接收人,也支持根据需要自定义消息接收人。
接收渠道:支持邮件、短信、站内信。
说明:
若您在触发某条阈值提醒后,编辑调整阈值金额,则会在下次检查时重新检查并发送。
若在某次检查中同时触发多次提醒,将聚合为一条消息发送。
同一条提醒在同一重置周期内(预算提醒指选取的预算周期,波动提醒指选取的波动类型),只会触发一次。
4.3 单击 Next:确认预算,该页面展示您已设置的预算信息、预警阈值、提醒信息等相关配置属性,确认无误后,单击保存


AI 一键生成功能

说明:
AI 预算功能灰度中,如需使用请联系您的客户经理。
AI 一键生成功能适用于还未创建预算管理的用户。
2. 在左侧导航栏中,选择成本管理 > 预算管理,进入预算管理页面。
3. 单击 AI 帮我创建预算

4. 在 AI 创建预算页面,您可选择以下操作:
保存:使用 AI 推荐的预算设置,一键保存完成创建。

说明:
AI 智能生成的预算名称为“智能预算配置”。
自定义调整:单击预算信息提醒信息旁的编辑按钮,按需修改相关内容;也可单击上一步返回上一界面重新设置后保存预算。


可视化面板介绍

1. 预算管理页面,按需单击预算列表中的预算分析

2. 在打开的页面中,进行查看预算进度及配置情况。也可对预算进行编辑复制删除操作。

本期预算面板:您可以查看本期预算的相关信息:包括预算进度、预算与实际费用对比、本期已触发的提醒次数。
预算历史面板:在预算历史面板中,您可查看该预算自创建以来的历史执行情况。预算历史图表与成本分析打通,以可视化图表的方式展示每个周期的实际成本和预算计划,并支持跳转到成本分析进行进一步分析。
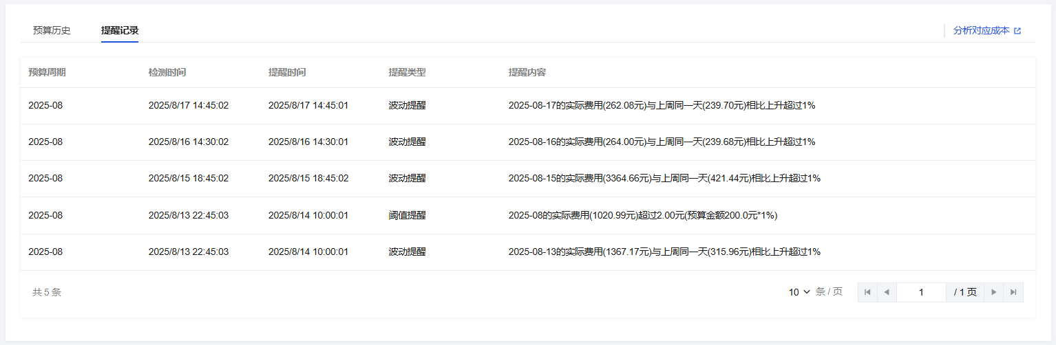
提醒记录面板:在提醒记录面板可以查看历史上触发的所有预警,包括预算周期检测时间提醒时间提醒类型提醒内容

预算信息面板:在右侧面板可以查看该预算在配置时的所有相关属性。
说明:
当您自定义通知周期与时段后,告警的检测时间和提醒时间可能不同。例如:设置周末不接收消息,则周末检测到的告警会在周一提醒。

AI 一键优化介绍

说明:
该功能适用于已创建了预算管理的用户。
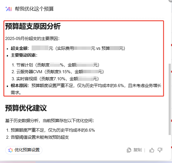
1. 在预算管理列表页面,将鼠标悬停在已创建的预算名称上,将出现 AI 优化按钮,点击后 AI 将为您提供以下分析及建议。

预算基本情况分析:包括该预算的超支频率、超支模式及控制有效性评估

预算超支原因分析:展示超支金额、主要影响因素及根本原因。

预算优化建议:基于历史数据,智能分析当前预算金额、告警阈值和编制方式等方面的不足,并提供具体调整建议。

2. 单击优化预算设置,AI 将自动为您优化该预算配置。

3. 在优化预算页面,您可选择以下操作:
应用:直接保存 AI 优化的预算设置。

继续编辑:进入预算编辑页面,根据需要调整预算信息提醒设置后手动保存。


帮助和支持

本页内容是否解决了您的问题?

填写满意度调查问卷,共创更好文档体验。

文档反馈