tencent cloud

文件存储

动态与公告
产品动态
产品公告
产品简介
产品概述
产品优势
存储类型及性能规格
使用场景
推荐地域
系统限制
购买指南
计费概述
价格总览
通用系列计费方式
Turbo 系列计费方式
吞吐型计费方式
快照计费方式
低频计费方式
资源单位包
资源购买
查看账单
欠费说明
快速入门
创建文件系统及挂载点
在Linux 客户端上使用 CFS 文件系统
在 Windows 客户端上使用 CFS 文件系统
在 Linux 客户端上使用 CFS Turbo 文件系统
使用 CFS 客户端助手挂载文件系统
操作指南
访问管理
管理文件系统
权限管理
使用标签
快照管理
跨可用区、跨网络访问指引
自动挂载文件系统
数据迁移服务
用户权限管理
用户配额
数据加密
数据生命周期管理
升级通用标准型文件系统
实践教程
NFS 客户端内核选择
Turbo 目录管理
计算实例销毁
在容器 TKE 上使用 CFS
在云函数 SCF上使用 CFS
在容器 TKE 上使用 CFS Turbo
在 Serverless 容器服务上使用 CFS Turbo
Turbo 文件系统网络选择
文件存储数据拷贝方案
文件存储性能测试
API 文档
History
Introduction
API Category
Snapshot APIs
File system APIs
Lifecycle APIs
Other APIs
Data Flow APIs
Making API Requests
Permission Group APIs
Service APIs
Scaling APIs
Data Migration APIs
Data Types
Error Codes
故障处理
小文件及高并发场景下客户端使用卡顿
常见问题
服务等级协议
联系我们
词汇表

操作指南

PDF
聚焦模式
字号
最后更新时间: 2024-06-25 15:22:07

设置数据生命周期管理策略

步骤1:创建生命周期管理策略

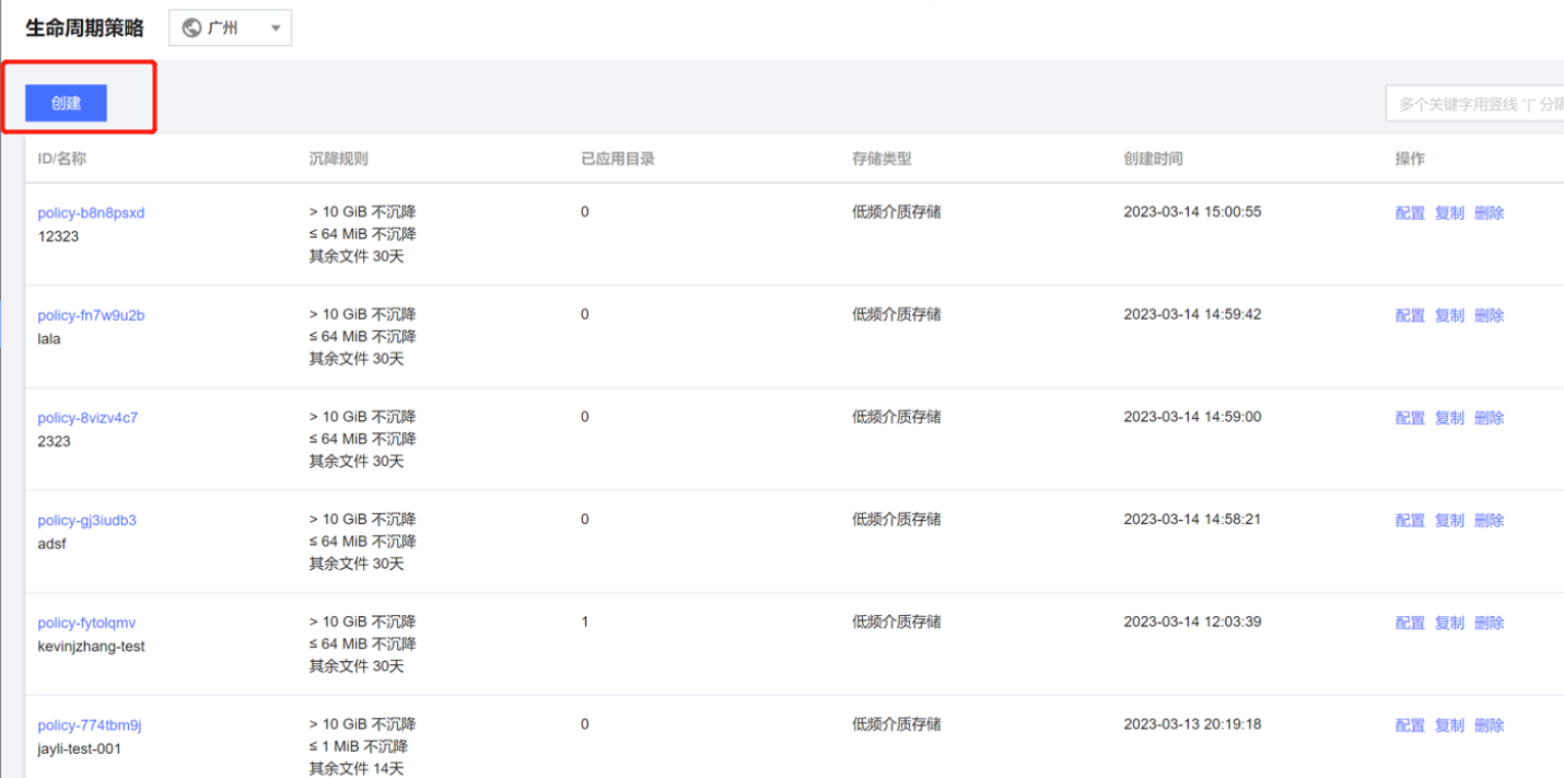
1. 登录 生命周期策略页面,单击创建



说明:
此功能仅 Turbo 文件系统支持,若需要使用可 提交工单 与我们联系。
2. 根据实际业务需要指定时间周期、文件大小的生命周期管理策略,并单击下一步



说明:
当前对小文件的范围界定仅支持配置小于1MB - 64MB。

步骤2:配置生命周期管理策略

将生命周期管理策略应用于 Turbo 文件系统的指定路径,并单击提交



说明:
对于父目录或子目录已经配置生命周期策略的目录,不支持再次配置。
如需配置生命周期管理的目录为/test/下的文件,填写 test、/test、/test/均可生效,系统会自动都转化为/test/。

查看生命周期管理策略

步骤1:查看生命周期管理策略




2. 单击策略 ID,查看生命周期管理策略。




步骤2:查看指定文件系统已生效的生命周期管理策略

1. 进入 文件系统列表页面,并单击需要查看的文件系统实例 ID。



2. 进入文件生命周期策略子页面,查看当前已生效的生命周期策略。




修改/删除生命周期策略

1. 进入待修改的生命周期策略后,单击右上角的编辑,即可进行修改/删除。



2. 修改完毕之后单击确认修改




查看已沉降的数据容量

单击 文件系统列表页面,即可查看沉降的数据容量。




查看文件沉降状态

如您需要查看文件的沉降状态,可参见如下指令:
lfs hsm_state /path/to/file
说明:
若返回 archived 则表示已沉降至低频,但未在文件系统释放。
若 released 则表示文件已沉降至低频介质,且在文件系统中释放。
当前默认在 archived 一小时后,自动执行 release 操作,释放文件系统空间。

预热数据

您可以通过如下指令对某个目录下的文件进行批量预热动作:
单文件:
sudo lfs hsm_restore /path/to/file
目录下所有文件:
nohup find /path/to/preload -type f -print0 | xargs -0 -n 1 sudo lfs hsm_restore &

主动释放数据

当您通过主动预热的方式加载数据后,若需要主动释放可参见如下命令:
单文件:
sudo lfs hsm_release /path/to/file
目录下所有文件:
nohup find /path/to/release -type f -print0 | xargs -0 -n 1 sudo lfs hsm_release &
说明:
未沉降的文件无法执行 hsm_release 操作。


帮助和支持

本页内容是否解决了您的问题?

填写满意度调查问卷,共创更好文档体验。

文档反馈