tencent cloud

数据万象

动态与公告
产品动态
产品公告
产品简介
产品概述
产品优势
应用场景
功能概览
地域与域名
使用限制
产品计费
计费概述
计费方式
计费项
免费额度
欠费说明
查看消费明细
常见问题
快速入门
注册与登录
绑定存储桶
上传和处理文件
下载和删除文件
解绑存储桶
通过 COS 使用数据万象
能力地图
图片处理
媒体处理
内容审核
AI 内容识别
文档处理
智能语音
文件处理
用户指南
概览
存储桶管理
智能工具箱
任务与工作流
数据监控
用量统计
实践教程
版权保护解决方案
图片处理实践
API 授权策略使用指引
工作流实践
API 文档
API 概览
结构体
公共请求头部
公共响应头部
开通万象服务
图片处理
AI 内容识别
智能语音
媒体处理
内容审核
文档处理
文件处理
任务与工作流
云查毒
错误码
请求签名
SDK 文档
SDK 概览
图片处理 Android SDK
图片处理 iOS SDK
COS Android SDK
C SDK
C++ SDK
.NET(C#) SDK
Go SDK
COS iOS SDK
Java SDK
JavaScript SDK
Node.js SDK
PHP SDK
Python SDK
小程序 SDK
SDK 产品个人信息保护规则
安全与合规
权限管理
常见问题
基础设置
文档处理
媒体处理
内容识别
智能语音
服务协议
Service Level Agreement
联系我们
词汇表

设置自定义图文风险库

PDF
聚焦模式
字号
最后更新时间: 2024-01-15 15:45:25

功能简介

自定义图文风险库用于帮助您有针对性的管理需要审核的图片或关键词。通过自定义风险库,您可以提前设置好图片或关键词,有针对性的对其进行拦截或放行,适用于所有审核场景。

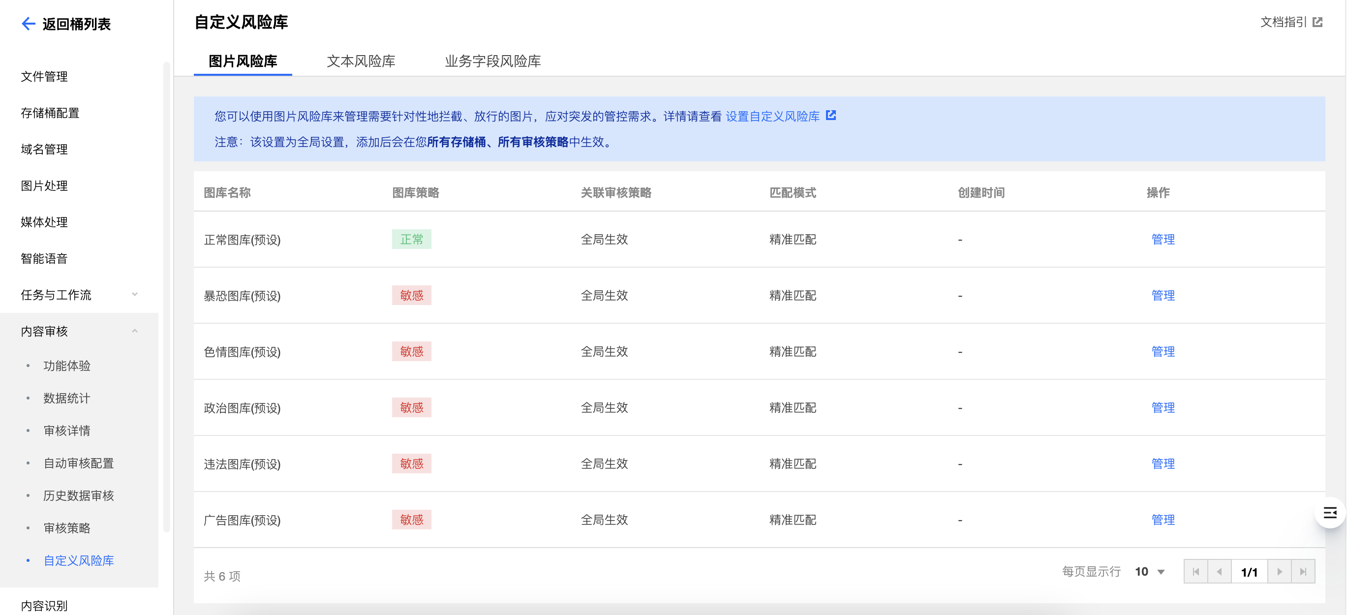
图片风险库

您可以使用图片风险库来管理需要针对性地拦截、放行的图片,应对突发的管控需求。
系统预设了六个图片风险库,包含:
正常图库:命中库中的图片,审核结果将返回为正常;
色情、违法等图库:命中库中的图片,审核结果将返回为对应的违规标签。
图片风险库不支持新建,您可以在已有的几个预设库中添加样本图片。
说明:
图片风险库为账号级别生效的,您在同一个账号下的任意存储桶中的图库中添加样本图后,都会在您所有存储桶、所有审核策略中自动生效。
单个图库中可添加的图片样本为10000张。
部分特定图片可能无法添加到图库,如遇到添加失败的情况,请 联系我们

文本风险库

您可以使用文本风险库来管理需要针对性地拦截、放行的文本,应对突发的管控需求。
文本风险库分为:
系统预设文本库:指系统为您预设好策略的文本库,包含:
正常文本库:命中库中的关键词,审核结果将返回为正常;
色情、违法等文本库:命中库中的关键词,审核结果将返回为对应的违规标签。
说明
文本预设风险库为账号级别生效的,您在同一个账号下的任意存储桶中的预设文本库中添加样本关键词后,都会在您所有存储桶、所有审核策略中自动生效。
单个预设文本库中可添加的关键词样本上限为10000条。
自定义文本库:指您自己创建的文本库,您可以在库中添加多种违规类型的样本。被审核的文本若命中库中的关键词,则会依照设定好的库策略,被打上对应的标签。
说明
自定义文本库需关联审核策略使用,仅在关联的审核策略中生效。
单个自定义文本库中可添加的关键词样本上限为2000条。

操作步骤

1. 登录 数据万象控制台,在存储桶列表页面选择需操作的存储桶,进入存储桶管理页面。
2. 在左侧导航栏中,选择内容审核 > 自定义风险库
3. 在自定义风险库页面,可看到图片风险库、文本风险库、业务字段风险库三个选项卡,其中业务字段风险库的操作说明可查看 设置业务字段风险库


4. 图片风险库和文本风险的操作步骤如下:
图片风险库
文本风险库
针对误审场景,添加图片白样本,使图片审核结果返回为正常:
1.在列表中找到正常图库(预设),单击图库右侧的管理,进入图库管理页面。
2.在图库管理界面,您可以执行以下操作:


查看图库策略:正常图库的图库策略为正常。
查看样本数:查看图库中已添加了多少样本。
添加样本:您可以往图库中添加指定的图片作为样本。
删除样本:您可以从图库中删除样本图片。
针对漏审场景,添加图片黑样本,使图片审核结果返回为敏感:
1.在列表中找到希望返回的敏感类型图库,如往色情图库(预设)中添加图片,审核结果将返回为色情,单击图库右侧的管理,进入图库管理页面。
2.在图库管理界面,您可以执行以下操作:


查看图库策略:色情图库的图库策略为敏感。
查看样本数:查看图库中已添加了多少样本。
添加样本:您可以往图库中添加指定的图片作为样本。
删除样本:您可以从图库中删除样本图片。
您可以直接在系统预设的文本库中添加关键词或创建自定义的文本库添加关键词:
在系统预设库中添加关键词,添加好后将在所有审核策略中生效:


1.如您想添加白样本关键词,可在列表中找到正常文本库(预设),单击文本库右侧的管理,进入文本库管理页面。
2.在文本库管理界面,您可以执行以下操作:


查看文本库策略:正常文本库的策略为正常。
查看样本数:查看文本库中已添加了多少样本。
添加样本:您可以往文本库中添加指定的关键词作为样本。
删除样本:您可以从文本库中删除关键词。
创建自定义文本库,自定义文本库需要关联审核策略使用,在进行审核操作时,只有使用已关联了文本库的审核策略,该文本库才会生效:
1.单击创建自定义文本库,在弹窗中填写文本库名称,选择文本库策略及匹配模式:
文本库策略:当命中文本库中的关键词样本时,可选审核结果返回为敏感或疑似。
匹配模式:可选精确匹配或模糊匹配;模糊匹配指可检测变体后的输入词,支持拆分字、形似字、音似字、简繁体、大小写、大写数字等形式的相似词进行匹配。
2.创建好自定义文本库后,在列表中找到已创建好的文本库,单击文本库右侧的管理,进入文本库管理页面。
3.在文本库管理界面,您可以执行以下操作:


查看文本库策略:自定义文本库策略可能为敏感或疑似。
查看样本数:查看文本库中已添加了多少样本。
添加样本:您可以往文本库中添加指定的关键词作为样本。
删除样本:您可以从文本库中删除关键词。
5. 完成风险库的配置后,在您使用 COS 内容审核功能时,如果遇到了风险库内的样本,会按风险策略自动进行放行或拦截。

帮助和支持

本页内容是否解决了您的问题?

填写满意度调查问卷,共创更好文档体验。

文档反馈