tencent cloud

对象存储

动态与公告
产品动态
产品公告
产品简介
产品概述
功能概览
应用场景
产品优势
基本概念
地域和访问域名
规格与限制
产品计费
计费概述
计费方式
计费项
免费额度
计费示例
查看和下载账单
欠费说明
常见问题
快速入门
控制台快速入门
COSBrowser 快速入门
用户指南
创建请求
存储桶
对象
数据管理
批量处理
全球加速
监控与告警
运维中心
数据处理
内容审核
智能工具箱
数据工作流
应用集成
工具指南
工具概览
环境安装与配置
COSBrowser 工具
COSCLI 工具
COSCMD 工具
COS Migration 工具
FTP Server 工具
Hadoop 工具
COSDistCp 工具
HDFS TO COS 工具
GooseFS-Lite 工具
在线辅助工具
自助诊断工具
实践教程
概览
访问控制与权限管理
性能优化
使用 AWS S3 SDK 访问 COS
数据容灾备份
域名管理实践
图片处理实践
COS 音视频播放器实践
工作流实践
数据直传
内容审核实践
数据安全
数据校验
大数据实践
COS 成本优化解决方案
在第三方应用中使用 COS
迁移指南
本地数据迁移至 COS
第三方云存储数据迁移至 COS
以 URL 作为源地址的数据迁移至 COS
COS 之间数据迁移
Hadoop 文件系统与 COS 之间的数据迁移
数据湖存储
云原生数据湖
元数据加速
数据加速器 GooseFS
数据处理
数据处理概述
图片处理
媒体处理
内容审核
文件处理
文档处理
故障处理
获取 RequestId 操作指引
通过外网上传文件至 COS 缓慢
访问 COS 时返回403错误码
资源访问异常
POST Object 常见异常
API 文档
简介
公共请求头部
公共响应头部
错误码
请求签名
操作列表
Service 接口
Bucket 接口
Object 接口
批量处理接口
数据处理接口
任务与工作流
内容审核接口
云查毒接口
SDK 文档
SDK 概览
准备工作
Android SDK
C SDK
C++ SDK
.NET(C#) SDK
Flutter SDK
Go SDK
iOS SDK
Java SDK
JavaScript SDK
Node.js SDK
PHP SDK
Python SDK
React Native SDK
小程序 SDK
错误码
鸿蒙(Harmony) SDK
终端 SDK 质量优化
安全与合规
数据容灾
数据安全
访问管理
常见问题
热门问题
一般性问题
计费计量问题
域名合规问题
存储桶配置问题
域名和 CDN 问题
文件操作问题
日志监控问题
权限管理问题
数据处理问题
数据安全问题
预签名 URL 问题
SDK 类问题
工具类问题
API 类问题
服务协议
Service Level Agreement
隐私政策
数据处理和安全协议
联系我们
词汇表
文档对象存储用户指南内容审核设置自定义图文风险库

设置自定义图文风险库

PDF
聚焦模式
字号
最后更新时间: 2024-01-06 10:33:57

简介

自定义图文风险库用于帮助您有针对性的管理需要审核的图片或关键词。通过自定义风险库,您可以提前设置好图片或关键词,有针对性的对其进行拦截或放行,适用于所有审核场景。

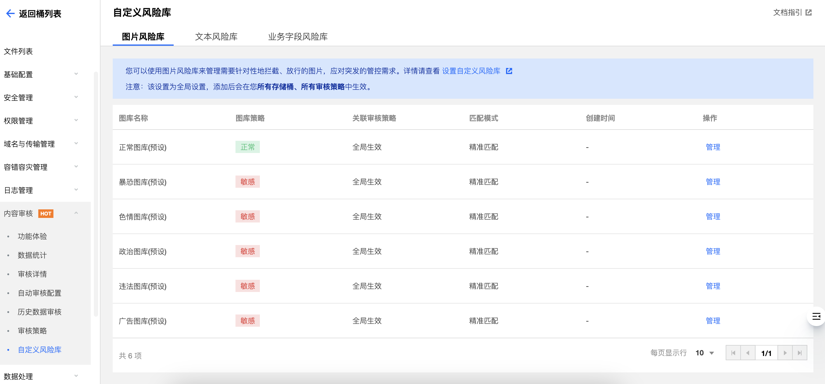
图片风险库

您可以使用图片风险库来管理需要针对性地拦截、放行的图片,应对突发的管控需求。
系统预设了六个图片风险库,包含:
正常图库:命中库中的图片,审核结果将返回为正常;
色情、违法等图库:命中库中的图片,审核结果将返回为对应的违规标签。
图片风险库不支持新建,您可以在已有的几个预设库中添加样本图片。
说明:
图片风险库为账号级别生效的,您在同一个账号下的任意存储桶中的图库中添加样本图后,都会在您所有存储桶、所有审核策略中自动生效。
单个图库中可添加的图片样本为10000张。
部分特定图片可能无法添加到图库,如遇到添加失败的情况,请 联系我们

文本风险库

您可以使用文本风险库来管理需要针对性地拦截、放行的文本,应对突发的管控需求。
文本风险库分为:
系统预设文本库:指系统为您预设好策略的文本库,包含:
正常文本库:命中库中的关键词,审核结果将返回为正常;
色情、违法等文本库:命中库中的关键词,审核结果将返回为对应的违规标签。
说明
文本预设风险库为账号级别生效的,您在同一个账号下的任意存储桶中的预设文本库中添加样本关键词后,都会在您所有存储桶、所有审核策略中自动生效。
单个预设文本库中可添加的关键词样本上限为10000条。
自定义文本库:指您自己创建的文本库,您可以在库中添加多种违规类型的样本。被审核的文本若命中库中的关键词,则会依照设定好的库策略,被打上对应的标签。
说明
自定义文本库需关联审核策略使用,仅在关联的审核策略中生效。
单个自定义文本库中可添加的关键词样本上限为2000条。

操作步骤

1. 登录 对象存储控制台,在存储桶列表页面选择需操作的存储桶,进入存储桶管理页面。
2. 在左侧导航栏中,选择内容审核 > 自定义风险库
3. 自定义风险库页面,可看到图片风险库、文本风险库、业务字段风险库三个选项卡,其中业务字段风险库的操作说明可查看 设置业务字段风险库


4. 图片风险库和文本风险的操作步骤如下:
图片风险库
文本风险库
针对误杀场景,添加图片白样本,使图片审核结果返回为正常:
在列表中找到正常图库(预设),单击图库右侧的管理,进入图库管理页面。
在图库管理界面,您可以执行以下操作:


查看图库策略:正常图库的图库策略为正常。
查看样本数:查看图库中已添加了多少样本。
添加样本:您可以往图库中添加指定的图片作为样本。
删除样本:您可以从图库中删除样本图片。
针对漏审场景,添加图片黑样本,使图片审核结果返回为敏感:
在列表中找到希望返回的敏感类型图库,如往色情图库(预设)中添加图片,审核结果将返回为色情,单击图库右侧的管理,进入图库管理页面。
在图库管理界面,您可以执行以下操作:


查看图库策略:色情图库的图库策略为敏感。
查看样本数:查看图库中已添加了多少样本。
添加样本:您可以往图库中添加指定的图片作为样本。
删除样本:您可以从图库中删除样本图片。
您可以直接在系统预设的文本库中添加关键词或创建自定义的文本库添加关键词:
在系统预设库中添加关键词,添加好后将在所有审核策略中生效:


如您想添加白样本关键词,可在列表中找到正常文本库(预设),单击文本库右侧的管理,进入文本库管理页面。
在文本库管理界面,您可以执行以下操作:


查看文本库策略:正常文本库的策略为正常。
查看样本数:查看文本库中已添加了多少样本。
添加样本:您可以往文本库中添加指定的关键词作为样本。
删除样本:您可以从文本库中删除关键词。
创建自定义文本库,自定义文本库需要关联审核策略使用,在进行审核操作时,只有使用已关联了文本库的审核策略,该文本库才会生效:
单击创建自定义文本库,在弹窗中填写文本库名称,选择文本库策略及匹配模式:
文本库策略:当命中文本库中的关键词样本时,可选审核结果返回为敏感或疑似。
匹配模式:可选精确匹配或模糊匹配;模糊匹配指可检测变体后的输入词,支持拆分字、形似字、音似字、简繁体、大小写、大写数字等形式的相似词进行匹配。
创建好自定义文本库后,在列表中找到已创建好的文本库,单击文本库右侧的管理,进入文本库管理页面。
在文本库管理界面,您可以执行以下操作:


查看文本库策略:自定义文本库策略可能为敏感或疑似。
查看样本数:查看文本库中已添加了多少样本。
添加样本:您可以往文本库中添加指定的关键词作为样本。
删除样本:您可以从文本库中删除关键词。
5. 完成风险库的配置后,在您使用 COS 内容审核功能时,如果遇到了风险库内的样本,会按风险策略自动进行放行或拦截。

帮助和支持

本页内容是否解决了您的问题?

填写满意度调查问卷,共创更好文档体验。

文档反馈