tencent cloud

云防火墙

动态与公告
产品动态
引擎更新动态
产品公告
新手指引
产品简介
产品概述
产品优势
应用场景
相关概念
支持地域
云防火墙高可用说明
购买指南
计费概述
购买方式
计费模式
续费说明
欠费说明
退费说明
操作指南
防火墙开关
资产中心
告警中心
流量中心
访问控制
入侵防御
全流量检测与响应
网络蜜罐
日志审计
日志分析
日志投递
日志字段
通知及设置相关
常用工具
实践教程
云防火墙与其他产品的联合防护
DNS 防火墙最佳实践
云防火墙防挖矿实践教程
VPC 间防火墙实践教程
故障处理
云防火墙误报误拦截应急预案
API 文档
History
Introduction
API Category
Making API Requests
Intrusion Defense APIs
Access Control APIs
Other APIs
Enterprise Security Group APIs
Firewall Status APIs
Data Types
Error Codes
常见问题
基本介绍
带宽相关
防火墙相关
功能相关
日志相关
账号相关
计费相关
其他
服务等级协议
CFW 政策
隐私协议
数据处理和安全协议

反馈误报

PDF
聚焦模式
字号
最后更新时间: 2025-12-24 09:49:18
当规则告警信息,出现误报情况时,用户可以在 告警中心 的反馈误报入口进行误报上报,从而及时从告警信息处提交反馈。

方式一

1. 当发现告警信息出现误报时,单击反馈误报,提交误报信息。

2. 在反馈误报页面,选中反馈类型,填入对应的误报信息,包括:
2.1 IP/域名:需要填入误报的 IP 地址或域名,以及误报描述。
2.2 入侵防御规则:需要填入误报的规则 ID,以及误报描述。

注意:
可通过告警事件详细信息中,查看事件命中规则详情,从而快速获得误报事件对应的规则 ID。
3. 单击提交反馈,即可完成误报反馈。误报反馈记录将在页面下方进行展示,云防火墙工作人员会在3个工作日内完成评估并反馈处理结果。

方式二

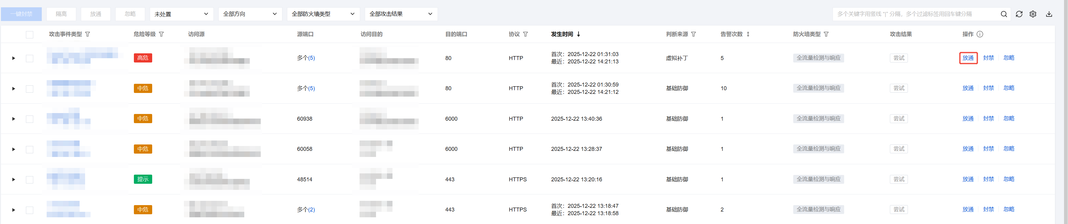
1. 当发现告警信息出现误报时,单击操作栏中的放通,将误报 IP 地址加入 入侵防御 模块的放通列表(白名单)。

2. 在弹窗中勾选放通原因为误报,并选择上报误报地址/规则。在下方填写误报描述后,单击确定即反馈成功。

3. 误报反馈记录将在页面下方进行展示,云防火墙工作人员会在3个工作日内完成评估并反馈处理结果。



帮助和支持

本页内容是否解决了您的问题?

填写满意度调查问卷,共创更好文档体验。

文档反馈