tencent cloud

云防火墙

资产类型

Download
聚焦模式
字号
最后更新时间: 2026-05-13 11:52:05
登录 云防火墙控制台,在左侧导航中,单击资产中心 > 按资产类型,进入资产列表页面。资产列表展示了六种不同类型资产的详细信息,包括主机资产、公网 IP 资产、域名资产、网络资产、数据库资产、其他资产类型,具体资产分类详见下表。
资产分类
子分类
英文名称
中文名称
主机
-
CVM
云服务器 CVM
LH
轻量应用服务器
CPM
黑石服务器
ECM
边缘计算器
OTHER
其他
公网 IP
-
HAVIP
高可用虚拟 IP
EIP
弹性公网 IP
IP
公网 IP
域名
-
DOMAIN
域名
网络
网关
NAT
NAT 网关
VPN
VPN 网关
网卡
ENI
弹性网卡
私有网络
VPC
私有网络
子网
SUBNET
子网
数据库
-
MySQL
云数据库 MySQL
REDIS
云数据库 Redis
MARIADB
云数据库 MariaDB
PostgreSQL
云数据库 PostgreSQL
MangoDB
云数据库 MangoDB
其他
-
CLB
负载均衡 CLB
NATFW
NAT 防火墙
PROBE
探针

查看资产详细信息

1. 在资产列表中,单击目标资产实例 ID,即可跳转到该资产的详情页面。

2. 以主机资产为例。在主机资产详情页面,页面左侧可以查看该资产的详细信息,包括资产实例名称、防护情况、IP 地址、资源标签等信息。页面右侧,可以查看该资产的实时流量趋势、资产指纹统计、风险趋势、网络攻击趋势的图形化信息。

3. 在页面下方,可以查看该主机资产的组件服务、风险管理、网络攻击信息。

资产组件服务

启用全流量检测与响应 NDR 的流量解析功能后,系统支持在网络流量中精准识别资产组件及服务类型,为安全事件溯源分析提供多维数据支撑。
说明:
若需启用此功能,请确保此资产已开启全流量检测与响应开关,具体操作指引请参考 全流量检测与响应开关
在资产详情页面中,单击组件服务,即可查看该资产关联的所有服务列表及其详细参数。


资产风险管理

在资产详情页面中,单击风险管理。单击搜索框,输入关键字对风险进行筛选定位。
注意
以端口风险为例,默认显示未处理过的风险信息。


标记状态

标记为已处置
建议使用主机安全和云防火墙,对安全风险进行封禁等防御措施。防御处置后的风险可以标记为已处置,处理状态更改为已处置,若下次扫描任务中仍然检测到此风险,则处理状态重新变回未处理。
1. 支持单个或批量将风险状态标记为已处置。
单个:选择目标风险,单击操作列的标记处置更多 > 标记处置

批量:选择多个风险,单击标记处置

2. 在确认窗口中,单击确定,即可将目标风险标记为已处置。
标记为忽略
当扫描误报产生风险误报时或认为该风险无需处理时,可将该风险忽略,后续扫描任务中该风险将被过滤。
1. 支持单个或批量将风险状态修改为忽略。
单个:选择目标风险,单击操作列的标记忽略更多 > 标记忽略

批量:选择多个风险,单击标记忽略

2. 在确认窗口中,单击确定,即可将目标风险状态修改为忽略。
取消标记
当告警需要重新研判时,取消标记后处理状态将恢复为未处理。
当风险已处置或已忽略时,在 漏洞与风险中心 页面,选择目标风险,可单击操作列的取消标记处置取消标记忽略,进行取消操作。

下载数据
漏洞与风险中心 页面,单击右上角的

,选择需要导出的行和列内容,然后单击导出将数据保存至本地。


NDR能力

风险管理新增基于 ​NDR(全流量检测与响应)能力的被动探测功能,通过内置的检测规则​对全流量数据进行被动分析,可深度检测此资产的端口风险、弱口令风险、敏感数据泄露风险​三类安全威胁。
说明:
若需启用此功能,请确保目标资产已开启全流量检测与响应开关,具体操作指引请参考 全流量检测与响应开关
切换来源
风险管理页面的 端口风险弱口令风险 页面,单击被动探测,可将识别来源切换为全流量检测与响应(NDR),通过全流量检测与响应检测规则,从流量中被动识别风险并展示。
说明:
以端口风险为例。

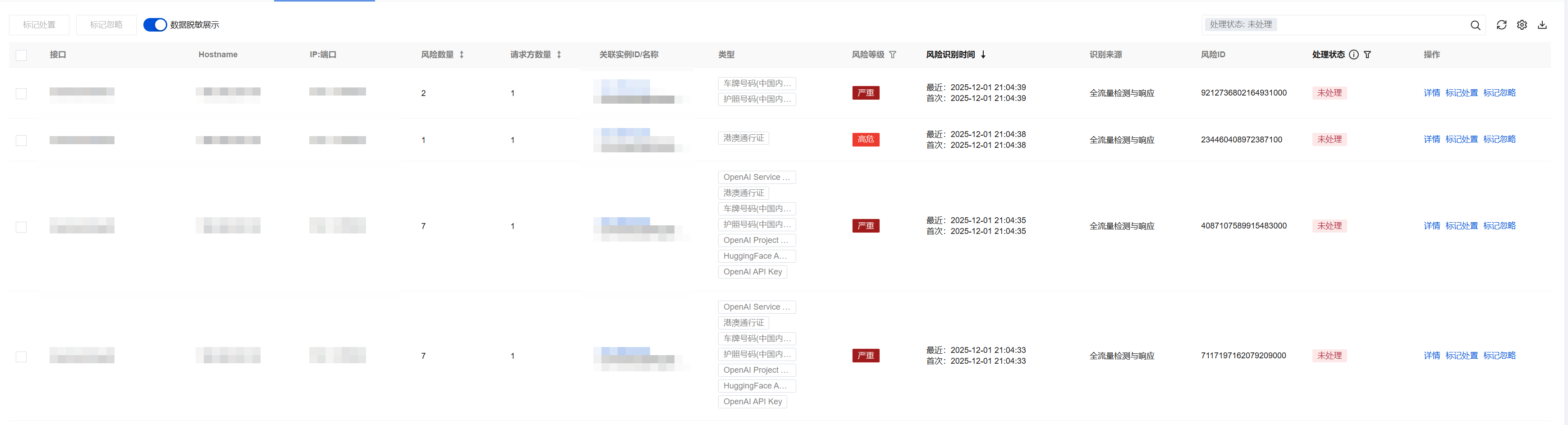
数据脱敏展示
风险管理页面的 弱口令风险敏感数据泄露 页面,您可通过控制数据脱敏展示开关​动态管理敏感数据的显示方式:
说明
以弱口令风险为例。
​开启 :页面中的敏感数据将以“******”的方式加密显示,默认状态为开启;
​关闭​ :页面中的敏感数据将以半遮罩的方式显示。

敏感数据检测
新增敏感数据泄露风险检测能力,您可以在风险管理 > 敏感数据泄露​ 页面查看当前资产的敏感数据泄露风险,并直接在此页面查看与处置风险。
当前支持的敏感数据泄露风险检测类型包括中国大陆身份证、储蓄银行卡等,详细的敏感数据泄露风险检测类型,您可以在 敏感数据泄露 页面查看。

风险详情
弱口令风险 / 敏感数据泄露 页面,单击详情,可查看当前风险的具体信息和归并风险。在归并风险栏单击查看日志,将自动跳转至该风险对应的​全流量检测与响应日志-流量风险日志​页面。
说明
以弱口令风险为例。


资产网络攻击

以时间为顺序记录了该资产发生的网络攻击告警与拦截事件。
1. 用户可以根据①事件处置状态(默认为未处置)、②告警等级、③执行策略、④搜索框关键字对网络攻击事件进行筛选。

2. 选中具体事件,单击

,可查看事件详情,包括事件描述、威胁情报标签等。

3. 单击payload信息 > 详情,可以查看攻击 IP 的 payload 信息。

4. 支持对攻击事件的相关 IP 进行一键封禁。单击①处的封禁,可以拦截单个 IP 对全部资产的访问。选中多个事件,单击②中的一键封禁,可以对选中的多个 IP 进行拦截。

5. 对于事件中可能存在的重复或误报,支持对相关 IP 进行一键放通。单击①处的放通,可以对单个 IP 的流量放行。选中多个事件,单击②中的一键放通,可以对选中的多个 IP 流量进行放行。

说明
关于封禁与放通攻击 IP 操作,详情可参见 告警中心 文档。
6. 单击

图标,可自定义事件列表字段,显示用户关注的事件信息。


资产统计概况

1. 查看资产统计概况,页面左侧包括主机资产、公网 IP 资产、域名资产、网关资产、数据库资产个数,单击数字,页面下方即可筛选对应资产列表,供用户查看资产详情。
2. 用户可以在页面右侧查看对应时间段内的资产监控。

3. 用户可以在页面下方查看各资产详细信息。
说明:
以主机资产为例。
单击

图标,可筛选对应的资产信息。

单击

图标,可对相应信息进行资产排序。

注意:
暴露端口、暴露漏洞、配置风险数据需要在资产扫描完成后,根据扫描结果显示。
单击

图标,支持用户自定义资产列表内容。

单击

图标,可以导出资产列表,支持自定义列表内容与检索条件。

帮助和支持

本页内容是否解决了您的问题?

填写满意度调查问卷,共创更好文档体验。

文档反馈