tencent cloud

主机安全

动态与公告
产品动态
产品公告
新手指引
产品简介
产品概述
产品优势
基本概念
应用场景
关联产品
功能介绍与版本比较
购买指南
购买安全防护授权
购买日志分析服务
快速入门
操作指南
安全概览
资产概览
主机列表
资产指纹
漏洞管理
基线管理
文件查杀
异常登录
密码破解
恶意请求
高危命令
本地提权
反弹 Shell
Java 内存马
核心文件监控
网络攻击
勒索防御
日志分析
授权管理
告警设置
访问管理指引
混合云安装指引
新手常见问题
软件相关说明
功能行为描述
客户端进程说明
安全基线检测列表
JSON 格式告警数据解析
日志字段数据解析
客户端安装指引
安全评分说明
实践教程
漏洞自动修复
恶意文件处理
故障处理
Linux 入侵类问题排查思路
Windows 入侵类问题排查思路
Linux 客户端离线排查
Windows 客户端离线排查
异常登录的消息提醒
API 文档
History
Introduction
API Category
Asset Management APIs
Virus Scanning APIs
Abnormal Log-in APIs
Password Cracking APIs
Malicious Request APIs
High-Risk Command APIs
Local Privilege Escalation APIs
Reverse Shell APIs
Vulnerability Management APIs
New Baseline Management APIs
Baseline Management APIs
Advanced Defense APIs
Security Operation APIs
Expert Service APIs
Other APIs
Overview Statistics APIs
Settings Center APIs
Making API Requests
Intrusion Detection APIs
Data Types
Error Codes
常见问题
相关协议
Terms of Service
Service Level Agreement
数据处理和安全协议
联系我们
词汇表

告警列表

PDF
聚焦模式
字号
最后更新时间: 2024-08-13 16:29:50
告警列表支持查看核心文件异常告警记录,可对告警记录进行处理(标记已处理、加入白名单、忽略),也可对告警记录进行删除。
说明:
核心文件监控属于主机安全旗舰版功能,建议 升级旗舰版,保护主机安全。
核心文件监控目前暂只支持 Linux 内核版本为3.10以上的操作系统。

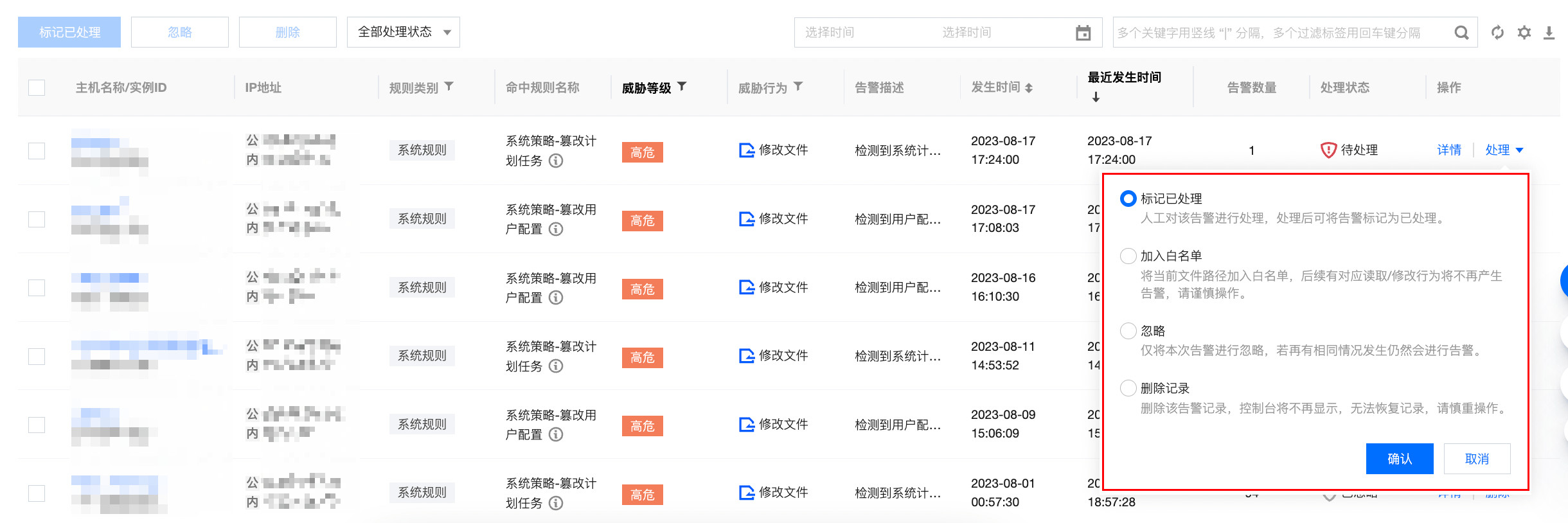
处理告警记录

1. 登录 主机安全控制台,在左侧导航栏,选择高级防御 > 核心文件监控 > 告警列表
2. 在告警列表页面,选择所需告警记录,单击处理,选择标记已处理、加入白名单、忽略或删除记录。

字段说明:
标记已处理:人工对该告警进行处理,处理后可将告警标记为已处理。
加入白名单:将当前文件路径加入白名单,后续有对应读取/修改行为将不再产生告警,请谨慎操作。
忽略:仅将本次告警进行忽略,若再有相同情况发生仍然会进行告警。
删除记录:删除该告警记录,控制台将不再显示,无法恢复记录,请慎重操作。
3. 在“二次确认”对话框中,单击确认,即可对告警记录进行处理。
4. 告警列表也支持批量处理告警记录,选中一个或多个告警记录后,单击左上角的标记已处理忽略,经过二次确认后,即可对选择的告警记录进行处理。


删除告警记录

1. 告警列表页面,支持单个删除告警记录或批量删除告警记录。
单个:选择所需告警记录,单击理 > 删除记录,弹出确认删除对话框。

批量:选择一个或多个告警记录,单击左上角的删除,弹出确认删除对话框。


2. 在确认删除对话框中,单击确认,即可删除所选告警记录。
说明:
删除选中告警记录,控制台将不再显示,无法恢复记录,请慎重操作。

帮助和支持

本页内容是否解决了您的问题?

填写满意度调查问卷,共创更好文档体验。

文档反馈